Výfukové koleno nedolieha dobre vo valci.

Diskusní fórum pro příznivce motocyklů MZ
Odpovědět
ondrej
Příspěvky: 26
Registrován: pon 28. pro 2015 13:37

Výfukové koleno nedolieha dobre vo valci.

Příspěvek od ondrej »

Zdravím,
kúpil som staré moto a problém je v tom, že čoho sa na nej chytím, nefunguje. Najhoršie je to, že neviem, či konkrétna súčiastka
je origo, alebo z iného modelu.
Mám problém s kolenom výfuku, keď sa ho snažím dotianuť, stále má vôľu medzi valcom a maticou. Používam origo hákový kľúč a trubku ako nádstavec. Niekde som sa dočítal, že model 251 má hlbšie uloženie, ja neviem, či koleno na mojej moto je origo alebo nie. Je to možné nejako vymedziť, alebo utesniť, napr. niečo ako azbestovou šnúrou...?
Ako má byť správne napojené koleno výfuku na výfuk? Predo mnou to niekto zavaril zváračkou.
Dík Ondrej.

Uživatelský avatar
Márty
Administrátor
Příspěvky: 1603
Registrován: úte 22. led 2013 15:41

Re: Výfukové koleno nedolieha dobre vo valci.

Příspěvek od Márty »

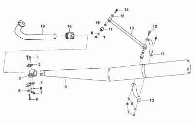
Koleno výfuku je zasunuté ve výfuku a uchycené přes objímku, která je přišroubovaná k držáku, který je přišroubovaný zespoda motoru....

Obrázek
etz251-t2-14.gif
Obrázek

ondrej
Příspěvky: 26
Registrován: pon 28. pro 2015 13:37

Re: Výfukové koleno nedolieha dobre vo valci.

Příspěvek od ondrej »

Zdravím, presedel som niekoľko hodín na nete a našiel som toto: podložka Krümmerdichtung, MZ ETZ 250 - 251
nové tesnenie potrubia meď, Fülldichtring, na utesnenie spojenia medzi valcom a výfukového potrubia, vhodné pre motocykle DDR MZ ETZ 250-251, náhradný diel. Názov stránky je obrázku. Inak som zistil, že je to celkom dobrý e-shop.
Přílohy
kruemmerdichtung-alu-mz-etz-250-251.JPG

Uživatelský avatar
Márty
Administrátor
Příspěvky: 1603
Registrován: úte 22. led 2013 15:41

Re: Výfukové koleno nedolieha dobre vo valci.

Příspěvek od Márty »

Jo, to těsnění se sežene i u nás (ČR) - je buď z hliníku nebo z mědí... Někde se mi doma taky válí, ale už vůbec netuším, kde...
Obrázek

Uživatelský avatar
Vladan
Příspěvky: 1124
Registrován: úte 29. led 2013 11:39

Re: Výfukové koleno nedolieha dobre vo valci.

Příspěvek od Vladan »

taky bych ho potřeboval - plochá hliníková podložka neplní účel :/
MZ ES 250/0 (1959); MZ ES 250 lsw (1970); MZ ES 250/2 (1972); MZ TS 250/1 (1975); MZ 500 VR (1993); IWL TR 150 (1964)

Obrázek

Odpovědět